热塑性塑料管材试验机拉伸GB/T 8804.1
发布日期:2019-06-27 点击次数: 1401
热塑性塑料管材,包括各种PVC管材,其拉伸性能主要测试拉伸屈服应力、断裂伸长率,国标GB/T 8804.1-2003就是关于此的方法规定。拉力试验机用来完成测试要求,也是塑料管材企业必配试验设备。
测试原理是,沿着热塑性塑料管材的纵向裁切或机械加工制取规定形状和尺寸的试样,通过拉力试验机在规定条件下进行拉伸,测试得出性能参数。
试验机需要配置引伸计,是自动记录试样的长度变化的一种仪表。
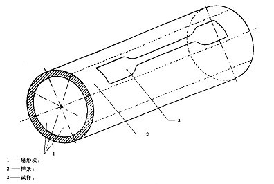
试样的裁取,如图所示:

试验机的拉伸速度与管材的材质和壁厚有关,按产品标准或GB/T8804.2或GB/T8804.3的要求确定试验速度。
试验机的精度等级应达到1级以上。
测试原理是,沿着热塑性塑料管材的纵向裁切或机械加工制取规定形状和尺寸的试样,通过拉力试验机在规定条件下进行拉伸,测试得出性能参数。
试验机需要配置引伸计,是自动记录试样的长度变化的一种仪表。
试样的裁取,如图所示:

试验机的拉伸速度与管材的材质和壁厚有关,按产品标准或GB/T8804.2或GB/T8804.3的要求确定试验速度。
试验机的精度等级应达到1级以上。

