GB/T1455-2005夹层玻璃(夹胶玻璃)试验机测试
发布日期:2019-06-26 点击次数: 1354
夹层玻璃,或叫夹胶玻璃,作为一种安全玻璃,在建筑领域随着玻璃幕墙的发展有越来越多的应用。夹层玻璃是由两片或多片玻璃其间夹粘聚乙烯PVB或SGP胶片,厚度一般为0.76mm、1.14mm、2.28mm。夹层玻璃是一种复合材料,其工作性能取决于夹层胶片的抗剪刚度。夹层胶片的抗剪性能等力学性能,国标有相关要求,是需要测试的。使用万能试验机来进行测试实验。
国标GB/T1455-2005就修改了采用了ASTM C273-00《夹层芯材剪切性能的标准试验方法》,由上海玻璃钢研究所负责起草。
国标GB/T1455-2005就修改了采用了ASTM C273-00《夹层芯材剪切性能的标准试验方法》,由上海玻璃钢研究所负责起草。
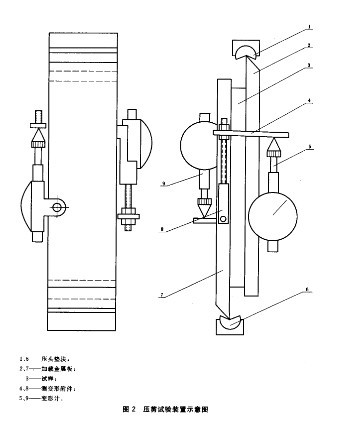
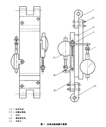
试验时,通过对与试样胶结的金属加载块施加拉伸或压缩载荷,沿夹层结构面板方向对芯子产生平面剪切,从而测定出芯子的剪切强度。当安装变形计,测出二面板或二加载钢板的相对位移后,则可测出芯子的剪切弹性模量。

